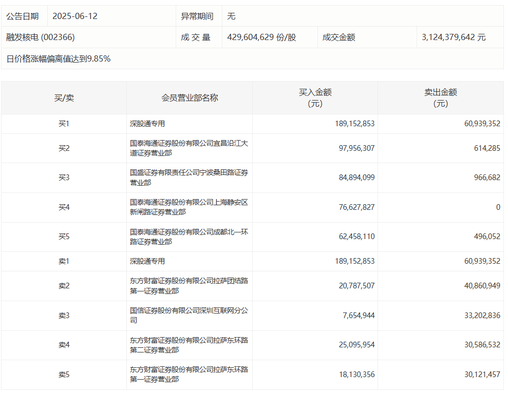
融发核电今日涨停全民配资,成交额31.24亿元,换手率34.19%。盘后龙虎榜数据显示,深股通专用席位买入1.89亿元并卖出6093.94万元。

昂利康今日涨停 四机构专用席位净买入2.35亿元全民配资昂利康今日涨停 四机构专用席位净买入2.35亿元
0 昨天 16:46
常山药业今日涨停 深股通专用席位买入2.57亿元并卖出1.52亿元常山药业今日涨停 深股通专用席位买入2.57亿元并卖出1.52亿元
0 06-09 16:44
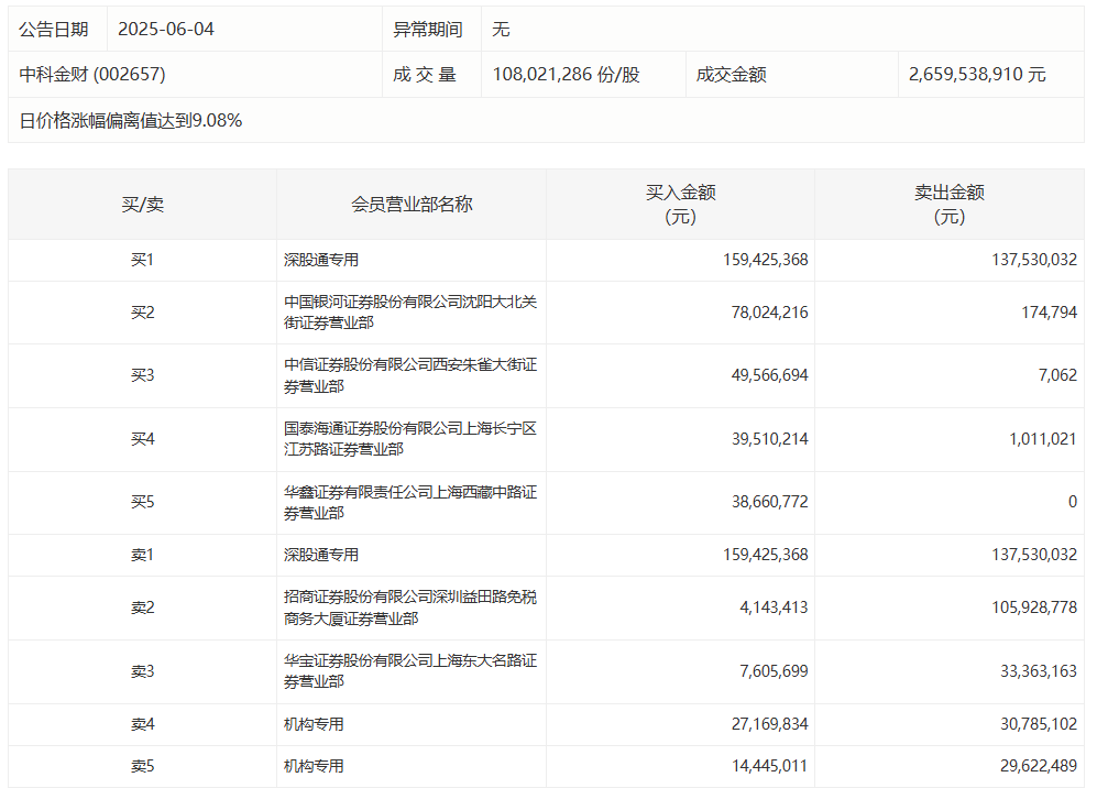
中科金财今日涨停 深股通专用席位买入1.59亿元并卖出1.38亿元中科金财今日涨停 深股通专用席位买入1.59亿元并卖出1.38亿元
0 06-04 16:37
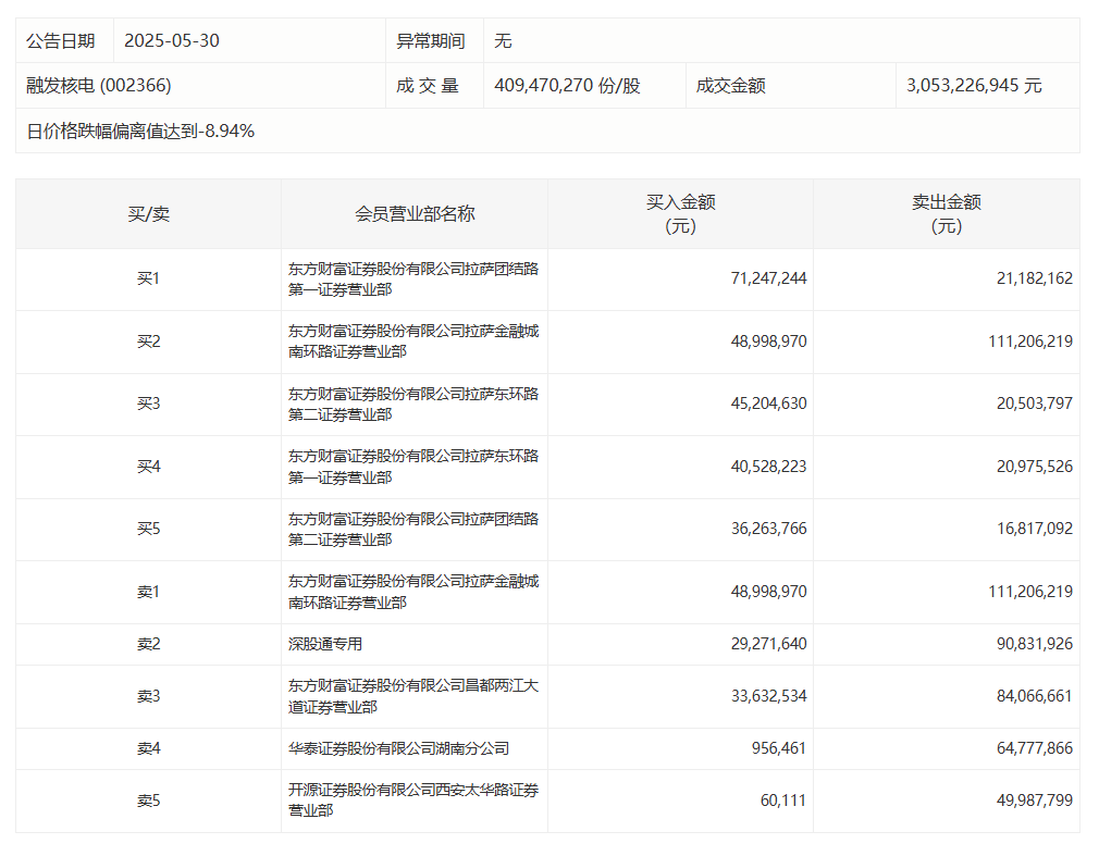
融发核电今日跌停 深股通专用席位买入2927.16万元并卖出9083.19万元融发核电今日跌停 深股通专用席位买入2927.16万元并卖出9083.19万元
0 05-30 16:29
核电概念狂飙多股4连板,难掩业绩亏损窘境 417 05-27 15:54 一财最热 点击关闭
方道配资提示:文章来自网络,不代表本站观点。